-
我越来越觉得,哪些坐在“旧赛道上的人”,正在被快速淘汰。
运营20年、号称拥有8000万用户、11亿篇文章的「360doc个人图书馆」,最近宣布——无偿转让。听起来像天上掉馅饼?
表面是“送”,实际是“止损”
2026年1月24日,360doc发布公告:平台核心技术、用户数据、运营团队全部无偿转让。但接盘方必须满足三个条件:
(1)接盘方需要具备 不少于 500 万的资金实力,
(2)要尊重原有内容和用户权益
(3)还得有一套清晰、可执行的运营计划

乍看门槛不高,细想却令人脊背发凉——谁愿意接手一个年亏400多万、官司缠身、模式过时的平台?不收钱,是因为收了钱也不够填坑。
这个模式,只在 2005—2015 年有效
360doc域名注册与2005年5月25日,那一年卢松松还在上大学,它的模式极其简单:
用户注册后,用工具一键抓取网页文章,分类收藏、编辑排版、再分享出去。平台不生产内容,只做“文章存储”。
20 年下来:它积累了8000 万用户、11 亿篇文章、百度索引量 2.7 亿+ 页面,非常的恐怖。可以说你这百度上搜的任何资料,都能出现都绕不开它,百度权重也一直很高,我们搜索的大部分资料,都能看到360doc的身影。

在那个SEO为王、流量即金钱的年代,360doc就是草根站长眼中的“印钞机”。
11 亿篇文章,没版权,就是11亿颗雷
问题恰恰出在它最引以为傲的地方——内容太多,却全是别人的。它不是被版权打倒的,而是终于被版权追上了。
2018 年 10 月,北京市网信办直接出手:平台因长期存在大量违法违规信息,被约谈、全站暂停服务整改一个月。这不是普通纠纷,而是监管层面对旧内容模式的一次正面清算。
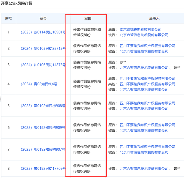
此后,版权诉讼如潮水般涌来,「360doc 个人图书馆」也逃不出这个厄运。公开裁判文书显示,其运营主体“北京六智信息”涉及大量“侵害作品信息网络传播权”纠纷。



对 360doc 来说,内容越多,风险越大;历史越长,责任越重。
广告一停,整个商业模式直接失效
很多人没意识到:版权压力只是压垮公司的最后一根稻草,真正要命的是大环境。
360doc的收入来源极其单一:广告。我看了是他的官网广告,直投广告非常少,几乎都是百度联盟广告。但5年发生了什么,大家也都知道,企业广告预算缩、品牌更看重转化、搜索广告整体下滑。
所以360doc现在都问题很尴尬:流量还在,但钱没了。广告收入崩塌,会员转化微乎其微。8000万用户,大多是“僵尸用户”——看得见,赚不到。
所以你看他公司的财务就直达了:2025 年上半年、营收:251 万,亏损:418 万。
好家伙,怎么越干活,亏的越多了?
最讽刺的是: 就在它宣布转让的前一天,百度宣布合并文库和网盘,全力搞AI。 这就是我说的“赛道换人了”。
内容网站平台,被时代判了死缓
我发现,不仅仅是360doc,包括是站长时代的卢松松博客、A5站长网、站长之家等等,凡是以内容为主的网站日子都不好过,他们连广告都接不到了。
这些网站平台没有输给对手,而是输给了:
(1)AI时代
(2)版权时代
今天,这些靠内容吸引用户,考用户赚取广告费的时代已经结束了。现在的这些平台,要么就转型,要么就被慢慢放弃,要么就拼命的抱大腿,一顿“彩虹屁”到处吹,要么一顿“公关黑稿”到处黑。
写在最后:
360doc的创始人蔡智说了一句很无奈的话:团队已无力支撑它走向下一个20年。 这句话值得所有创业者深思。
360doc没做错什么,它的赛道被掀桌子了,一个靠“长期搬内容 + SEO 红利”活着的时代,已经彻底结束了。
真正危险的,不是平台被卖了,而是你还坐在旧赛道上,却以为时间会等你。时代从不提醒你下车,它只会在你没反应过来的时候,直接把你换掉。
顶: 4 踩: 0相关阅读:
来源:卢松松博客 QQ/微信:13340454
360doc要无偿转让了:不是它不值钱,是这个时代不需要它了
| 阅读量 | 分类: 微新闻 | 作者: 卢松松
相关文章阅读更多:网站 站长
- 2025-11-19 全球20%网站瘫痪,Cloudflare崩了,可国产云我们还是不敢用
- 2025-07-22 CNNIC最新报告透露5大真相,普通人机会在哪?
- 2025-06-17 推荐!公司与行业研究报告与数据收集网站
- 2025-06-06 6万个页面4.7万个关键词排名的秘籍
- 2025-03-06 1448万:帝恩思把核心资产DNS.COM域名卖了
- 2025-02-18 什么是SSL和HTTPS?企业网站有必要安装部署SSL和HTTPS吗
- 2025-02-13 20年前中国4大顶级域名注册商:三五互联发不出工资了
- 2025-01-13 央视曝光20元克隆网站黑幕,建站行业即将大清洗
- 2024-08-08 网站真的没必要在做了
- 2024-05-27 抽屉网关停,Digg类网站退出互联网舞台
- 2024-05-17 网站备案使得一些企业不得不放弃网站业务了
- 2024-05-13 网站被网监大队下发整改通知书
- 2024-04-11 中国网站数量竟然比2022年多了10000个
- 2024-03-25 日流量10万的网站无法变现
- 2021-09-08凡是在卢松松博客投稿的作者都有机会得到IT类图书哦!







发表感想加入微信群
九八首码网
抖音下拉框去负面
抽油烟机
刷抖音指数提升